大连美德乐工业自动化股份有限公司(下称“美德乐”)北交所上市迎来关键时刻,11月27日,其接受上市委审议,公司此次计划募资约6.45亿元。
招股书披露,美德乐主营智能制造装备的研发、设计、制造和销售业务,主要产品为模块化输送系统和工业组件。报告期内,公司的业绩出现了先降后升,但2023年、2024年归母净利润均不及2022年。
创始股东曾一边在外企履职一边投资发行人,2021年员工持股平台增资股份数量与股份支付数量不一致,报告期3次分红1.25亿元,实控人分得5,700多万
美德乐成立于2009年,由张永新和陈立波各出资33万、17万共同设立, 不过,陈立波并未参与公司的经营管理。
根据陈立波履历,公司设立时,其正在外资大连东芝电视有限公司担任CSR推进部副部长,美德乐有限成立后历任监事、董事。
在公司的历次变更中,两人的持股占比均有所下降,但张永新一直保持控股股东地位,截至发行前,张永新直接持有并控制公司46.15%的股份,为公司控股股东、实际控制人,同时担任公司董事长兼总经理。
发行前,陈立波持有公司22.99%股份,并未纳入共同实际控制人,与张永新同年的陈立波担任公司的董事及子公司大连伊通的总经理助理。
2021年5月,公司第三次增资,注册资本由1,000.00万元增至1,030.93万元,新增30.93万元的注册资本由新股东大连伊美认购,增资价格为12.61元/出资额,同月参与第四次增资的广发乾和、江剑锋的增资价格为价格为77.60 元/出资额。
招股书披露,大连伊美为2020年12月公司股东张永新、陈立波设立的员工持股平台,为了股权激励参与了上述增资。
但在股份支付费用中显示,2021年股权激励为19.55万的份额,较上述30.93万元的份额少了11.38万元。
招股书显示,在2021年5月引进广发乾和、江剑锋增资入股的同时,美德乐有限时与美德乐有限、张永新签署有关股份回购的对赌协议,不过,公司称在2022年12月双方又签订了终止协议。
2023年6月,美德乐再次引入新股东鼎祥名仕、立夏一号,公司注册资本由5,509.0325万元增至5,612.3267万元,其中688,628元出资由立夏一号以货币方式认缴;344,314元出资由鼎祥名仕以货币方式认缴,增资的价格为29.04元/股。
报告期内,公司进行了三次分红,累计金额达12,499.79万元,根据实控人张永新所持46.15%股份,其获得5,768.65万元。
与多家大客户数据“打架”2024年对大客户先导智能销售数据较其披露的采购数据多出1.18亿元,2024年下游多家客户收入出现了明显的下滑,两家大客户卷入员工行贿案,重要工程商南通建工被执行3.2亿元累计拖欠税款逾千万元,与供应商对薄公堂
报告期各期,公司向前五名客户销售收入合计分别为61,196.88万元、51,762.96万元、54,044.14万元和44,662.56万元,占营业收入的比例分别为 59.34%、51.29%、47.50%和62.75%。
公司的前五客户主要为比亚迪、先导智能、海目星、今天国际和先惠技术等,2022年,公司对比亚迪的销售金额约5.09亿元,占比49.32%,不过在2023年-2025年1-6月对其销售金额快速下滑,对其他前五客户的销售金额快速增加。
2024年,公司对先导智能的销售金额攀升至24,408.33万元,增加了近3倍,超过比亚迪成为该年度第一大客户,但奇怪的是,根据先导智能披露的2024年年报数据显示,其对第一大供应商的采购金额约为12,573.03万元,美德乐披露的销售数据较其披露的数据多出了11,835.30万元。
同时,根据先导智能2024年年报数据,其实现的营收约118.55亿元,同比下滑28.71%、实现的归母净利润为2.86亿元,同比下滑83.88%。
同时,招股书显示,2024年对第三客户海目星的销售数据为8,580.35万元,而其年报数据对一供应商的采购数据为5,917.62万元,发行人销售数据多出2,662.73万元。2024年对第四客户今天国际的销售数据为7,491.89万元,其对供应商的采购额也并无此数据,与其第二、第三供应商采购数据均相差400多万。
2024年,今天国际、海目星营业收入分别同比变动-22.51%、-5.82%,均出现下滑,该年度海目星还出现了约1.77亿元的亏损。
2023年,公司对今天国际的销售金额为15,458.24万元,较其最为接近的第二供应商采购数据的14,348.21万元多出了1,110.03万元。
上述大客户中,海目星及今天国际在经营过程中,还曾出现员工行贿。
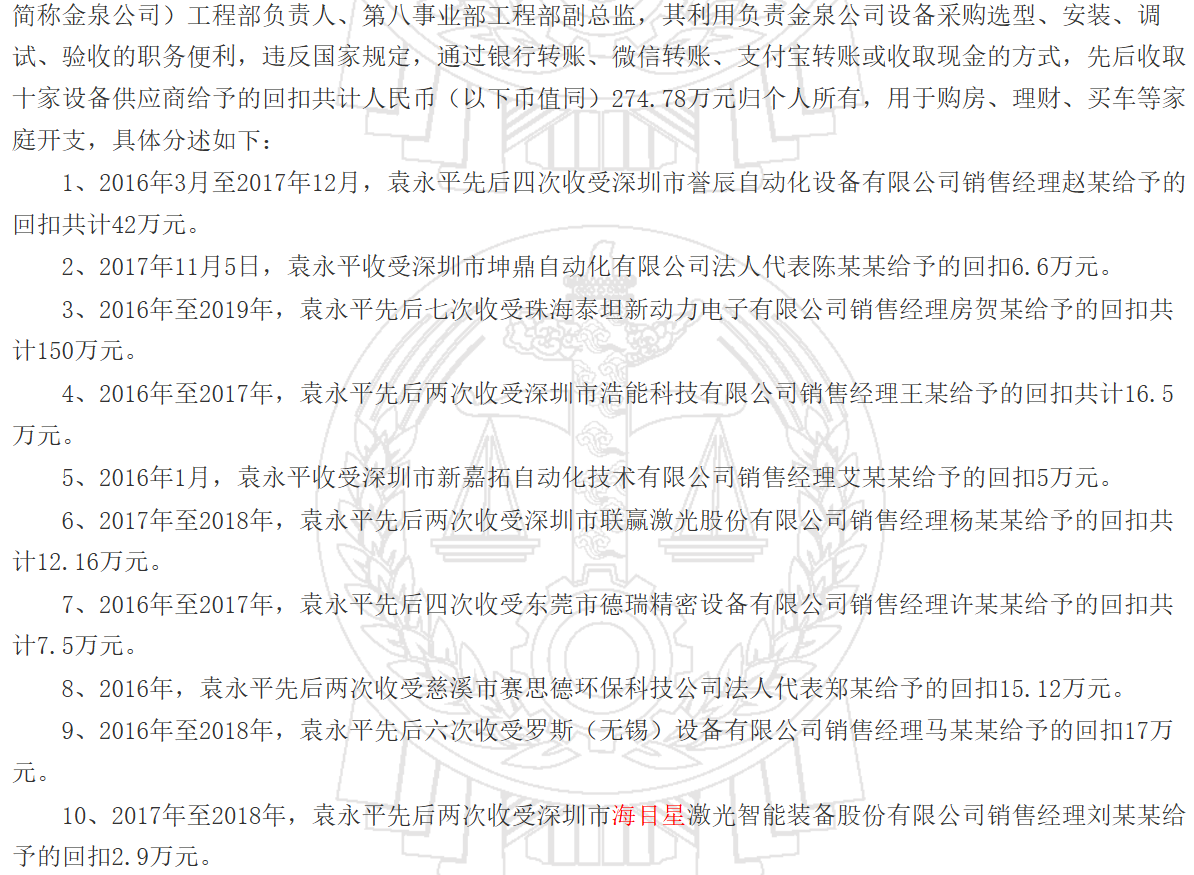
湖北省荆门市掇刀区人民法院做出的案号为(2021)鄂0804刑初30号的《被告人袁永平犯非国家工作人员受贿罪一案一审刑事判决书》显示,原湖北金泉新材料有限公司(以下简称金泉公司)工程部负责人、第八事业部工程部副总监袁永平先后两次收受深圳市海目星激光智能装备股份有限公司销售经理刘某某给予的回扣2.9万元。
据安徽省芜湖经济技术开发区人民法院发布的案号为(2015)芜经开刑初字第00100号的《马龙旖受贿一审刑事判决书》显示,原安徽中烟工业有限责任公司芜湖卷烟厂技改办主任马龙旖利用其负责部门日常管理、工作协作等职务之便,接受深圳今天国际物流技术股份有限公司客户经理詹某的请托,在相关物流系统建设及往来中提供便利和帮助,收受詹某给予的港币20,000元,折合人民币15,877.2元。
招股书披露,公司2024年在建工程5,520.43万元,较2023年的71.60万元大幅增加。
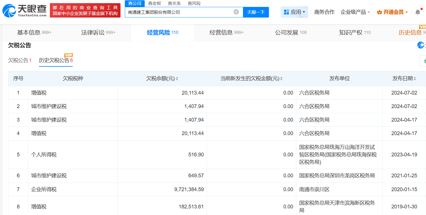
天眼查显示,南通建工涉及司法案件3,631起,作为被告2,666起,涉案金额约8.79亿元,纳入被执行人300多次,被执行总额约3.21亿元,该企业曾出现了40多起环保违规被罚57.5万元,曾拖欠税款超千万。
2024年7月,公司供应商大连金镱达精密机械有限公司向大连市普兰店区人民法院 提起诉讼,认为公司未足额给付2020年9月至2021年9月的货款,请求法院判令公司给付货款43.58万元及利息。2024年10月,大连市普兰店区人民法院判决公司向大连金镱达精密机械有限公司支付货款43.58万元及利息。公司向辽宁省大连市中级人民法院提起上诉。截至财务报告审计截止日,上述案件尚处于二审阶段。
2025年8月,辽宁省大连市中级人民法院二审判决维持原判。公司已于报告期内 对上述诉讼计提预计负债。
收入与人工费用不匹配,仅签字未盖章确认的收入2.2亿元,签收人与收货联系人不一致形成的收入约1.5亿元,同行中经营收入垫底但2024年独自增长12.7%同行下滑或持平,研发费用等三大费用投入大幅低于同行,募投6.45亿元其中4.51亿元用于修建厂房等建筑物,募投项目预计五年后达产,磁驱及混合动力输送系统目前仅10几万的收入预计达产后新增3亿收入
2023年,公司收入同比2022年下降了2.13%,但2023年度直接人工、现场安装费较2022年度分别增加1,071.58万元、2,253.01万元,增幅分别为38.49%、328.38%。
报告期各期,发行人仅签字未盖章验收单据金额分别为2,234.70万元、7,273.91 万元、10,702.36万元和2,023.01万元,累计金额约22,233.98万元。
同时,报告期各期,公司确认收入的50万元以上的合同对应的签收单上存在上述实际签收人与收货联系人不一致情形的金额分别为4,001.28万元、5,292.47万元、3,094.28万元和2,498.55万元,累计14,886.58万元,占当期主营业务收入的比例分别为3.88%、5.24%、2.72%和3.52%。
2024年,公司实现收入约11.38亿元,在同行中处于垫底位置,但该年度同比2023年增长12.73%,而同行中除博众精工出现2.36%的微幅增长外,其他均下滑10%以上,2025年上半年,公司再次同比增长35.13%,大幅领先于同行,同行中增速最高的怡合达增长18.70%,盈利能力方面,公司在同行中也表现出居前列。
报告期内,公司的研发费用发费用分别为4,313.91万元、4,296.65万元、5,574.49万元和3,331.59万元,占营业收入的比例分别为4.18%、4.26%、4.90%和4.68%,在同行中投入的金额垫底,占比略高于怡合达,大幅低于平均值,同时销售费用及管理费用也显著低于同行。
招股书披露,公司此次募资6.45亿元,用于大连美德乐四期建设项目、华东工业自动化输送设备生产及研发项目、高端智能化输送系统研发生产项目和美德乐华南智能输送设备研发生产项目。
上述4个项目均涉及修改厂房的建筑工程,各建筑工程投资金额分别为1.18亿元、1.31亿元、1.14亿元和0.88亿元,总投资约4.51亿元。
美德乐表示,各项目计划至2028年先后建设完成,各项目计划至2030年全部达到规划产能,各项目全部达产后预计年收入将较2024年度增加约99,000.00万元,其中磁驱输送系统、混合动力输送系统等新产品年收入预计增加约30,000.00万元。
但从目前来看,公司磁驱及混合动力输送系统产品销售收入及在手订单金额较小,2022年-2024年均未形成收入,2025年上半年仅形成10.80万元的收入,新增订单仅15.27万元。
(文中图源招股书、问询函、裁判文书网和天眼查)
- 美德乐销售数据与大客户数据相差过亿,上市前高额分红1.25亿2025-11-26
- 永大股份上市前高额分红2亿,2024年应收账款大幅飙升2025-11-25
- 通领科技创始股东兼总经理退出,高毛利率背后因素是什么?2025-11-20
- 易思维募资规模为营收规模的3倍,第二大客户近期被终止上市2025-11-19
- 振石股份销售数据与客户存2亿差异,上市前实控人父子分红11亿2025-11-17
- 通宝光电曾因业绩大幅下滑在创业板折戟,单一客户销售占比90%2025-11-12








